2003年率先將臍帶血治療的疾病分為3類:
- 標準療法
- 臨床試驗中的療法
- 實驗治療
在選擇正確的臍帶血庫形式之前,區分兩種治療模式也很重要:
當父母向公共銀行捐贈臍帶血時,他們是在支持世界各地正在尋找無關同種異體供體的患者。當父母將臍帶血保存在家庭銀行時,他們保留了嬰兒可以使用自己的干細胞進行自體治療,或者直系親屬(兄弟姐妹或父母)可以使用干細胞進行同種異體治療的選項。 這是大約80種標準療法的單頁列表,如果您單擊它將會展開。

造血干細胞的標準療法
對于這些疾病,造血干細胞移植(造血干細胞移植,HSCT)是標準治療方法。對于某些疾病,它們是唯一的治療方法,而對于其他疾病,它們僅在一線治療失敗或疾病侵襲性很強時才使用。
下面的列表包括所有使用造血干細胞的療法,不區分干細胞是從骨髓、外周血還是臍帶血中提取的。在美國,如果干細胞移植是患者診斷的“標準療法”,大多數健康保險提供商都會支付干細胞移植費用。
HSCT作為標準治療的大多數疾病都是血細胞譜系疾病。由干細胞形成血細胞的增殖如側面圖所示(單擊圖像可展開)。
白血病是血液免疫系統的一種癌癥,其中的細胞稱為白細胞或白細胞

骨髓增生異常綜合征也稱為白血病前期

淋巴瘤是一種在血液和淋巴管中循環的白細胞癌癥

血細胞增殖的其他疾病



免疫系統和其他器官遺傳性疾病的移植

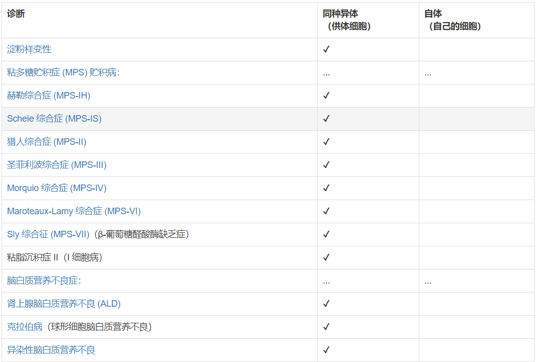
遺傳性代謝紊亂的移植


非起源于血液或免疫系統的實體瘤

已在臍帶血或臍帶組織細胞臨床試驗中的疾病和病癥
“臨床試驗”是對人類患者進行的一項尚未被用作標準療法的新興療法的研究。該網站的頁面使患者能夠在全球范圍內搜索目前正在招募的臍帶血或臍帶組織MSC臨床試驗。下表勾選了在臨床試驗中用臍帶血或臍帶組織治療過的所有診斷,無論試驗是否仍處于開放狀態。
美國人體臨床試驗的階段定義如下(其他國家的階段可能不同):
- 第1階段:安全性研究,以確定該程序或藥物是否具有良好的耐受性。
- 第2階段:更大規模的研究,以衡量新療法對對照組的有效性。
- 第3階段:更大規模的研究,以比較各種參數(如劑量和給藥)的影響,并在上市前監測副作用。
- 第4階段:上市后研究,以了解更多關于風險、收益和最佳使用的信息。
臍帶血干細胞治療神經系統疾病

臍帶血干細胞治療自身免疫性疾病

臍帶血干細胞治療心血管疾病

臍帶血干細胞治療糖尿病

臍帶血干細胞治療遺傳和/或代謝紊亂疾病

臍帶血干細胞治療骨科疾病

其他

實驗治療
這些診斷正在研究干細胞治療,要么在實驗室用細胞培養,要么在模擬人類疾病的動物身上進行。實驗性療法尚未進入人體臨床試驗階段。在實驗研究中,通常不清楚最終療法(如果開發)是自體還是同種異體。
提示:本文內容來自網絡用戶投稿,僅供參考,不做為診斷依據,任何關于疾病的建議都不能替代執業醫師的面對面診斷。最終以醫生診斷為準,不代表本站同意其說法,請謹慎參閱,本站不承擔由此引起的任何法律責任。
掃碼添加官方微信